Устройство мебельной петли с доводчиком - это важный элемент современной мебели, обеспечивающий плавное и бесшумное закрывание дверей. Оно состоит из нескольких основных компонентов, каждый из которых выполняет свою функцию.
 
  
  
  
  
  
  
  
  
  
  
  
  
  
  
  
  
  
  
  
  
  
  
  
  
  
  
  
  
  
  
  
  
  
  
  
  
  
  
  
  
  
  
  
  
 Компоненты устройства
Основные компоненты устройства мебельной петли с доводчиком включают в себя корпус петли, доводчик, регулировочные винты и крепежные элементы. Каждая деталь имеет свою специфическую роль в работе устройства.
При установке устройства необходимо обратить внимание на правильное положение каждого компонента и корректную фиксацию крепежных элементов. Для этого рекомендуется следовать инструкции производителя и использовать специализированный инструмент.
 
  
  
  
  
  
  
  
  
  
  
  
  
  
  
  
  
  
  
  
  
  
  
  
  
  
  
  
  
  
  
  
  
  
  
  
  
  
  
  
  
  
  
  
 Установка и настройка
Правильная установка устройства мебельной петли с доводчиком является важным шагом для обеспечения его эффективной работы. При этом необходимо учитывать особенности конструкции мебели, типы дверей и другие факторы, влияющие на процесс установки.
После установки устройства необходимо провести его настройку, чтобы обеспечить оптимальное функционирование доводчика и петли. Это включает в себя регулировку силы закрывания, скорости закрывания и других параметров в соответствии с требованиями и пожеланиями пользователя.
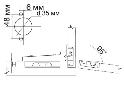
Не забудьте ознакомиться с многочисленными фотографиями, демонстрирующими процесс установки и настройки устройства мебельной петли с доводчиком.